- PVSM.RU - https://www.pvsm.ru -

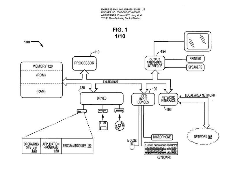
Компания Intellectual Ventures получила патент США № 8,286,236 [1] на внедрение технологии DRM в 3D-принтеры. Непосредственно перед печатью принтер должен проверить право на копирование данного 3D-файла: из какого материала правообладатель разрешил его печатать, сколько раз и т.д.
Юрист общественной организации Public Knowledge поясняет [2], что патент очень широкий. Он покрывает использование цифровых файлов для производства методом прессования, штамповки, литья, печати, покраски и нанесения татуировок на материалах, среди которых «кожа, ткани, съедобные вещества, бумага и кремний».
Компанию Intellectual Ventures, которую основал бывший технический директор Натан Мирвольд (Nathan Myhrvold), можно назвать не просто патентным троллем, а мега-троллем. Её называют «самой ненавидимой компанией в технологической отрасли» [3]. Эта фирма ничего не производит, а занимается накапливанием «интеллектуального ресурса», то есть скупкой патентов оптом и в розницу. К настоящему моменту она накопила более 40 000 патентов, привлекла $5 млрд венчурного капитала и рассчитывает в течение ближайших десяти лет заработать до $40 млрд. Способы заработка — лицензирование, роялти и, конечно же, судебные иски против нарушителей патентов. В прошлом году компании удалось таким образом заработать $2 млрд. Среди тех, кто платит «мзду» Intellectual Ventures — такие компании, как SAP, Samsung, HTC и многие другие.

Как Intellectual Ventures формирует свой портфель? Они рассылают письма изобретателям с предложением выкупить их будущие изобретения. Они также нанимают в штат коллективы, которые работают в «патентных фабриках Intellectual Ventures» и занимаются массовой регистрацией новых идей через многочисленные дочерние организации. По оценкам независимых аналитиков, у Intellectual Ventures насчитывается более 1200 дочерних организаций, которые выступают в суде и применяют различные навороченные схемы «раскручивания» клиентов на деньги. См. историю «Лаборатории Касперского» [4], в части «Как работает тролль-система?».
Патент на защиту от копирования в 3D-принтерах — как раз один из таких, сгенерированных собственными силами Intellectual Ventures и оформленный на дочернюю компанию Invention Science Fund I.
Вполне возможно, что CAD-файлы станут очередным объектом для внедрения технических средств контроля за копированием, как это случилось с музыкой, книгами и кинофильмами.
К счастью, пока не идёт речи об обязательно внедрении DRM в 3D-принтеры, потому что существует мощное движение в поддержку свободного распространения CAD-файлов. С марта этого года действует организации Open Source Hardware Association [5], которая продвигает модели с открытым дизайном под свободными лицензиями. Существует 3D-принтер RepRap, который спроектирован таким образом, что может распечатать любые детали для сборки своей копии. В конце концов, даже Фонд свободного программного обеспечения (FSF) учредил программу сертификации «свободных» устройств и на днях выдал первый такой сертификат. «Желание обладать компьютером или устройством и иметь полный контроль над ним, быть уверенным, что за вами не следят, иметь возможность запускать любое программное обеспечение, какое вы хотите, не спрашивая разрешения, а также поделиться с друзьями, не беспокоясь о средствах защиты авторских прав (DRM) — это желание миллионов людей, которые заботятся о будущем технологий и нашего общества», — сказано в пресс-релизе [6] FSF.
Автор: alizar
Сайт-источник PVSM.RU: https://www.pvsm.ru
Путь до страницы источника: https://www.pvsm.ru/kopirajt/17223
Ссылки в тексте:
[1] патент США № 8,286,236: http://patft.uspto.gov/netacgi/nph-Parser?Sect1=PTO2&Sect2=HITOFF&p=1&u=%2Fnetahtml%2FPTO%2Fsearch-bool.html&r=1&f=G&l=50&co1=AND&d=PTXT&s1=8,286,236.PN.&OS=PN/8,286,236&RS=PN/8,286,236
[2] поясняет: http://www.technologyreview.com/view/429566/nathan-myhrvolds-cunning-plan-to-prevent-3-d/
[3] «самой ненавидимой компанией в технологической отрасли»: http://news.cnet.com/8301-13578_3-57496641-38/inside-intellectual-ventures-the-most-hated-company-in-tech/
[4] историю «Лаборатории Касперского»: http://eugene.kaspersky.ru/2012/06/26/kill-the-troll/
[5] Open Source Hardware Association: http://www.oshwa.org/
[6] пресс-релизе: http://www.fsf.org/news/hardware-certification-aleph-objects-lulzbot-3d-printer
Нажмите здесь для печати.